Gute und schlechte Schnellspanner
Schnellspanner haben einen Exzentermechanismus, der es erlaubt, ein Laufrad schnell ohne zusätzliches Werkzeug auszubauen. Schnellspanner werden manchmal auch bei Sattelstützen, Vorbauten und Bremsen verwendet. Es gibt die Legende das Tullio Campagnolo 1927 sein Hinterrad nicht wenden konnte, um in einen anderen Gang zu wechseln als er über den Croce d'Aune Pass in den italienischen Alpen fahren wollte. Seine eingefrorenen Finger waren nicht in der Lage die Flügelschrauben an seinem Hinterrad zu lösen. Dieser Vorfall soll zu der Erfindung des Schnellspannermechanismus geführt haben, die zum ersten Mal in den frühen 1930er Jahren vermarktet wurden. Jedoch haben kürzlich Forschungen des Fahrradhistorikers David Herlihy aufgedeckt, dass Campagnolo nicht auf den Startlisten dieses legendären Rennens auftaucht.
Ein Schnellspanner klemmt sich gegen die äußeren Flächen der Ausfallenden des Fahrrads. Diese werden gegen die äußeren Muttern (oder ähnliche Oberflächen bei speziellen Naben mit Patronenlagern) gedrückt.
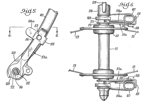
Der Spieß ist eine Stange, die durch das Innere der hohlen Nabenachse passt. Der Schnellspannermechanismus ist aus einem Hebel, dem Exzenter, dem Spieß, zwei konischen Federn und einer Hutmutter aufgebaut, wie man unten im Bild erkennen kann. Manchmal muss der Schnellspanner aus der Nabe entfernt werden, wenn man beispielsweise die Nabe warten möchte. Der Spieß wird dazu einfach aus der Nabe gezogen, sobald man die Hutmutter abgeschraubt und die konische Feder entfernt hat. Man sollte immer die Feder und die Hutmutter wieder aufsetzen und -schrauben, wenn man den Schnellspanner lagert, damit sie nicht verloren gehen.
Die konische Feder drückt gegen die Enden der Achsen und zentriert den Spieß über die Ausfallenden. Das schmale Ende jeder Feder muss gegen das Ende der Achse drücken. Wenn man den Schnellspanner schließt, werden die Federn zusammengedrückt und das breite Ende passt in eine Vertiefung des Exzenters bzw. der Hutmutter. Wenn eine Feder andersherum eingebaut wird, verformt sie sich beim Schließen des Mechanismus.
Der Schnellspanner funktioniert natürlich auch ohne diese Federn. Jedoch ist der Einbau des Laufrades etwas schwieriger, weil man den Spieß mit der Hand mittig halten muss, damit er in die Ausfallenden rutscht.
Die Hutmutter hat normalerweise ein geriffeltes Formstück, so dass man den Schnellspanner bei Aus- und Einbau nicht neu einstellen muss. Sollte die Gabel jedoch Lawyer Lips haben, muss man das jedoch trotzdem machen. Mehr dazu später...
Eine Sattelstütze oder ein verstellbarer Vorbau können mit einem Schnellspannermechanismus, der einen kürzeren Spieß hat, gesichert werden. Um den inneren Mechanismus besser erkennen zu können ist im folgenden Bild der Schnellspanner auseinandergebaut.
Ein Laufrad mit Schnellspannermechanismus einbauen
Ein klassischer, korrekt montierter Schnellspanner ist sogar gegen die Kettenkräfte eines Tandems sicher. Dabei ist korrekte Montage jedoch essentiell.
Die korrekte Passform überprüfen
Insbesondere bei einer neuen Kombination aus Laufrad und Rahmen oder nach einem Schaden sollte man sicherstellen, dass alles zusammen passt.
Der Mutternabstand der Nabe muss der Einbaubreite zwischen den Ausfallenden entsprechen. Die Achse muss in die Schlitze des Ausfallenden passen und sich gerade ausrichten lassen. Drehe das Laufrad und prüfe, ob die Enden eiern. Das geht am einfachsten, wenn der Schnellspanner entfernt wurde. Die Achse der Nabe darf nicht über die Außenseiten der Ausfallenden hinausragen, sonst drückt der Schnellspanner nur gegen diese Achsenenden und das Laufrad bleibt lose. Das Problem besteht manchmal bei gepressten Stahl-Ausfallenden bei älteren Fahrrädern. In diesem Fall muss man die Achsen kürzen oder das Laufrad bei einem Fahrrad mit dickeren Ausfallenden benutzen. Bei Dachträgern am Auto kann dieses Problem ebenfalls auftreten. Daher sollte man das dort ganz besonders gründlich prüfen.
Man sollte prüfen, ob der Spieß des Schnellspanners gerade ist und sich frei im Inneren der Achse bewegen lässt. Die Hutmutter sollte nicht wackeln, wenn man von der gegenüberliegenden Seite fest schraubt. Man sollte genau schauen, ob die Ausfallenden korrekt ausgerichtet sind, so dass die Außenmuttern der Nabe exakt plan aufliegen können. In einem weiterführenden Artikel kann man mehr erfahren, wie man das prüft und eine Ausrichtung vornimmt. Man kann natürlich auch das Laufrad hernehmen, um schnell zu prüfen, dass die Ausfallenden parallel sind. Wenn man den Schnellspanner nur leicht befestigt, dürfte man keine keilförmige Lücke zwischen Muttern und Ausfallenden sehen. Sieht man eine solche keilförmige Lücke, darf man den Schnellspanner keinesfalls richtig fest anziehen, weil man sonst den Spieß oder die Achse biegt. Das verschließen des Schnellspanners sollte abrupt erfolgen und die Kraft zum Umlegen des Hebels sollte sich im Folgenden kaum ändern. Weichliches oder federndes Bindungsgefühl ist ein Zeichen für schlechten Sitz. Nach dem Verschließen und wieder Entfernen sollten die "Bissspuren" der Nabenmuttern und des Schnellspanners auf beiden Seiten kreisförmig gleichmäßig tief um die Ausfallendenflächen angeordnet sein.
Der Hebel des Schnellspanners muss beim Hinterrad auf der linken Seite sein, damit das Schaltwerk keinesfalls mit ihm in Berührung kommen kann. Demnach befindet sich die Hutmutter auf der rechten Seite des Fahrrads und wird dort auf den Spieß aufgeschraubt. Normalerweise ist der Hebel beim Vorderrad ebenfalls auf der linken Seite. Jedoch gibt es einige Bike Friday Falträder, die sich besser falten lassen, wenn der Hebel rechts ist.
Der Schnellspanner ist ein Klemmmechanismus und funktioniert nicht wie eine Flügelschraube. Man dreht den Hebel auf der linken Seite gegen die Hutmutter auf der rechten Seite, um das Klemmen vorzubereiten. Damit sichert man noch nicht das Laufrad gegen Herausfallen.
Ein Laufrad einsetzen
- Stelle Dich auf die linke Seite des Fahrrads. Bei geöffnetem Schnellspanner schiebe das Laufrad in die Ausfallenden. Ein Vorderrad oder ein Hinterrad bei einem Rahmen mit vertikalen Ausfallenden oder Einstellschrauben sollte vollständig in den Ausfallenden eingesetzt werden. Bei einem Hinterrad mit einem Schaltwerk Adapter sollte das Laufrad rechts komplett in den Adapter eingesetzt werden. Die Schwerkraft wird Rahmen und Laufrad ineinander schieben, wenn das Fahrrad auf dem Boden oder kopfüber steht.
Das Bild unten zeigt eine Nabe, die in die Ausfallenden eingesetzt ist. Da der Schnellspanner geöffnet ist, kann man einen Spalt zwischen dem Exzenter und dem Ausfallenden erkennen. Der grüne Pfeil zeigt auf diesen Spalt. - Während Du den Hebel mit der linken Hand fest hältst, greife mit der rechten Hand auf die andere Seite des Fahrrads und drehe die Hutmutter mit der rechten Hand fest, bis der Spalt zwischen Exźenter und Ausfallende verschwindet. Dabei sollte der Hebel einen Winkel von ungefähr 70° zum Laufrad einnehmen wie es auf dem Bild unten erkennbar ist. Jetzt drücken Hutmutter und Exzenterkörper jeweils leicht gegen die Ausfallenden.
- Ein Hinterrad bei einem Fahrrad mit horizontalen Ausfallenden ohne Einstellschrauben muss nun noch manuell im Rahmen zwischen den Kettenstreben zentriert werden. Falls das Fahrrad auf dem Boden steht, lehne es gegen Deine linke Hüfte, halte das Laufrad in Höhe der Kettenstreben mit der linken Hand fest und schließe den Schnellspanner leicht mit der rechten Hand. Sobald der Schnellspanner das Laufrad zentriert hält, kannst Du eine Hand auf den Rahmen oder den Sattel legen, das Fahrrad aufrichten und mit der anderen Hand den Schnellspanner in seine Endposition drücken.
- Drücke den Hebel in Richtung des Laufrads so weit es geht wie es auf dem Bild unten zu sehen ist. Dabei sollte soviel Kraft nötig sein, dass auf Deiner Handfläche ein Abdruck entsteht. Du solltest merken, wenn der Hebel seine Endposition erreicht hat. Dabei hat der Hebel nun in etwa einen 90° Winkel zur Achse erreicht. Möglicherweise muss man die Hutmutter einige Mal neu justieren, bis man die richtige Klemmkraft erreicht. Das Foto unten zeigt die Position, bei der man gefahrlos losfahren könnte, wenn es ein vollständiges Laufrad wäre und nicht nur eine Nabe.
Der Exzenter eines Schnellspanners geht etwas über das Ziel hinaus, so dass sich der Schnellspanner tatsächlich wieder minimal löst, wenn der Hebel komplett umgelegt wird. Daher stellen Erschütterungen keine Gefahr dar, die den Schnellspanner während der Fahrt öffnen könnten. Wenn man einen Schnellspanner übermäßig anzieht, wird er das System nicht vollständig zusammendrücken sondern eher zu lose werden.
Der Druck auf den Schnellspannerspieß kann die Nabenachse zusammendrücken und die Kugellager der Nabe verstellen. Es gibt einen weiteren Artikel auf diesen Seiten, der zeigt, wie man die richtige Einstellung prüft.
Das Laufrad herausnehmen
Um das Laufrad herauszunehmen, ziehe den Hebel weg vom Laufrad bis er vollständig geöffnet ist. Sobald die Klemmkraft gelöst ist, lasst sich der Hebel sehr leicht bis in die komplett geöffnete Position weiterbewegen. Wenn eine Gabel "Lawyer Lips" hat oder falls Teile nicht perfekt zusammenpassen, muss möglicherweise die Hutmutter noch ein Stück geöffnet werden. Jetzt halte das Laufrad mit einer Hand fest und hebe mit der anderen Hand das Fahrrad an.
Ein Demonstrationsvideo
Aus- und Einbau eines Hinterrads mit Schnellspanner ist sehr einfach, wenn man weiß, wo man sich am besten hinstellt und wie man das Fahrrad zu halten hat. Es gibt hierzu ein Demonstrationsvideo auf Vimeo von John Allen.
Messen eines Schnellspanners, um Ersatz zu besorgen
Manchmal muss man den Schnellspanner austauschen oder durch einen mit Diebstahlsicherung ersetzen. Falls man den alten Schnellspanner nicht zum Vergleich mitnehmen kann, wenn man den neuen kauft, sollte man die Maße kennen. Die drei wichtigsten Parameter sind Durchmesser, Gewindemaß und Länge.
- Durchmesser: Der Spieß muss durch die hohle Achse der Nabe passen. Entweder misst man den Innendurchmesser der Achsen oder den Durchmesser des aktuellen Spießes. Die meisten Achsen benötigen einen Spieß mit fünf Millimeter Durchmesser. Spieße, die für Fahrräder mit Federgabeln hergestellt wurden, haben neun Millimeter (vorne) bzw. zehn Millimeter (hinten). Spieße für Sattelstützen und Vorbauten haben für gewöhnlich sechs Millimeter. Benutze nie einen Spieß mit Untermaß.
- Gewindemaß: Dieses Maß ist nur wichtig, wenn man Spieß und Hutmutter separat ersetzen möchte 5 x 0,8 mm ist das übliche Maß. Bei älteren französischen Fahrrädern findet man auch noch 5 x 0,9 und 5 x 0,75 mm. Das sollte man mit der Gewindelehre messen oder eine kleine Sammlung an Hutmuttern zuhause haben, wenn man ältere französische Fahrräder restauriert und die Schnellspannersysteme absolut authentisch sein müssen.
- Die Länge des Spießes hängt vom Außenabstand der Ausfallendenflächen und der Tiefe der Hutmutter ab. Am einfachsten misst man den Außenabstand der Ausfallenden nachdem man das Laufrad entfernt hat. Diese Entfernung muss der Länge des Spießes von der Unterseite des Exzenters bis zur Unterseite der Hutmutter entsprechen. Manche diebstahlgesicherte Schnellspanner haben kleinere Hutmuttern und kürzere Spieße. Wenn man jedoch das korrekte Außenmaß der Ausfallenden kennt, kann man den richtigen Ersatz leicht unabhängig vom Design des Schnellspanners bestimmen. Die meisten Vorderradnaben haben einen Mutternabstand von 100 mm. Der Mutternabstand beim Hinterrad kann alles von 110 mm für Falträder bis hin zu 170 mm bei Fatbikes oder Tandems sein. 130 mm ist bei Straßenfahrrädern und 135 mm bei Mountainbikes weit verbreitet. Die Dicke der Ausfallenden - beide Seiten addiert - reicht von 8 mm für gepresste Stahlausfallenden bis hin zu 20 mm bei Aluminiumausfallenden. Ein Schaltwerkadapter, eine Anhängerzugvorrichtung oder andere Accessoires können noch hinzukommen.
Sekundäre Rückhaltesysteme
Mit dem "Fahrradboom" der frühen 1970er Jahre wurden viele Fahrräder mit Kettenschaltung an unerfahrene Kunden verkauft. Viele dieser Leute benutzten den Schnellspanner wie eine Flügelschraube, schlossen den Mechanismus nicht vollständig oder überzogen den Klemmechanismus, so dass sich der Hebel nicht vollständig schließen ließ. Auch könnte ein Missetäter den Schnellspanner öffnen. Der Spieß kann sich verbiegen oder brechen, wenn er mit Gorillakräften geschlossen wird oder mangelhaft hergestellt wurde. Eine verbogenes Ausfallende kann das Laufrad nicht richtig sichern. Jedes dieser Probleme kann zum Auswurf des Laufrads und zu bösen Unfällen führen. Dies wiederum kann (vor allem in den USA) zu teuren Prozessen gegen die Hersteller führen. Das wiederum begünstigte die Einführung von sekundären Rückhaltesystemen.
Die erste Maßnahme gegen den Verlust des Laufrads ist daher die korrekte Installation. Die zweite Maßnahme ist das Prüfen des Fahrrads vor der Benutzung. Die sekundären Rückhaltesysteme sind dazu da, das Laufrad am Platz zu halten, falls beide Maßnahmen nicht greifen.
Es gibt drei grundsätzliche Typen von sekundäre Rückhaltesystemen:
Schwinn-Haken
Ein Typ, der vom Schwinn-Ingenieur Frank Brilando erfunden wurde, hat Haken, die innerhalb der Außenmuttern um die Nabenachse gehängt werden und auf der andern Seite im Inneren der Gabelscheiden an Zapfen hängen. Diese Vorrichtung lässt sich schnell bedienen und hält das Laufrad sogar an seinem Platz, wenn der Schnellspanner bricht und aus dem Laufrad herausfällt. Dazu benötigt man aber modifizierte Naben und Gabeln. Diese Vorrichtung sieht man ausschließlich bei Schwinn Fahrrädern. Unten stehende Skizze ist aus Brilandos Patentschrift.
Hier sieht man einen recht rostigen, aber immer noch wartbaren Schwinn-Haken aus der freien Wildbahn.
Ausfallende-Haken
Ein zweiter Typ dieser Vorrichtung hat Haken, die an den Ausfallenden befestigt sind. Brilando hat diesen Typ erfunden, bevor er die bessere Idee hatte. Seine Patentskizze sieht man im Bild unten. Brilandos Ausfallende-Haken benötigen spezielle Ausfallenden, die mit jeder Nabe funktionieren. Der Schnellspanner muss gelöst werden, bevor man man die Haken öffnen kann. Diese Vorrichtung funktioniert wie eine Unterlegscheibe und macht daher die Verbindung zwischen Nabe und Gabel weniger sicher. Andere ähnliche Versionen drehen sich um den Schnellspannerspieß und haken sich im Ausfallende ein. Sie halten das Laufrad nicht fest, wenn der Schnellspanner bricht und herausfällt. Sie können leicht entfernt werden, wenn man die Hutmutter des Schnellspanners abschraubt.
Lawyer Lips
Die häufigsten Vorrichtungen sind jedoch die so genannten "Lawyer Lips" - eine erhöhte Kante am Ausfallende der Gabel, die Exzenter und Hutmutter zurückhalten können. Mehr noch als die anderen Rückhaltesysteme erschweren sie den Aus- und Einbau des Laufrads, da die Hutmutter beim Ausbau jedes mal einige Drehungen aufgeschraubt werden muss. Beim Wiedereinbau muss die Hutmutter dann wieder angeschraubt werden. "Lawyer Lips" funktionieren mit jeder Nabe und haben verhindert, dass man Lizenzgebühren an Schwinn abführen musste. Brilandos Patent ist jedoch 2006 ausgelaufen!
Auf dem Bild unten sieht man Abnutzungsspuren an den Ausfallendenflächen. Hier war der Schnellspanner nicht fest und das Laufrad konnte sich trotz der "Lawyer Lips" im Ausfallende bewegen. Man beachte auch die unregelmäßigen Abnutzungsspuren. Diese billigen Ausfallenden wurden gepresst und haben daher keine perfekt ebenen Flächen.
Zur Sicherheit
Kein sekundäres Rückhaltesystem kann das Laufrad so gut sichern wie der Schnellspanner selbst. Eine Vorrichtung, die sich nur auf den Spieß verlässt, damit das Laufrad gehalten wird, ist keine Sicherheit, wenn der Schnellspanner brechen sollte.
Auswahl des richtigen Schnellspanners
Der Spieß eines Schnellspanners sollte aus Stahl sein. Schnellspanner mit Titan- und Aluminiumspießen werden zur Gewichtsreduktion von einigen Gramm hergestellt. Jedoch ist Stahl wesentlich widerstandsfähiger und wiegt nur ein paar Gramm mehr.
Der Spieß und der Exzenterkörper sollten aus einem Teil bestehen und der Übergang zwischen Spieß und Exzenter sollte abgerundet sein, um hohe Lastspitzen am Übergang zu vermeiden.
Wenn man den Schnellspanner schließt, werden durch die Handkraft zwei Dinge erreicht: Es wird Klemmkraft auf den Schnellspanner aufgebracht, und die mechanische Reibung des Mechanismus wird überwunden.
Schnellspanner gibt es in zwei verschiedenen Ausführungen. Einmal mit geschlossenem Exzenter und einmal mit offen liegendem Exzenter.
Geschlossener Exzenter
Der ursprüngliche Typ des Schnellspanners, wie er von Tullio Campagnolo erfunden wurde, hat einen Stahlexzenter, der von einem soliden Metallkörper umhüllt ist. Der Körper ist der Teil, der sich bewegt, wenn man den Hebel umlegt. Normalerweise hat er Zähne, mit denen er gegen das linke Ausfallende drückt.
Der Exzenter ist gut gegen Verschmutzungen geschützt und kann mittels einiger Tropfen Öl alle paar Jahre geschmiert werden.
Offener Exzenter
Irgendwann in den 1980er Jahren wurde ein neuer Typ Schnellspanner auf den Markt gebracht. Dieser ist weniger teuer in der Produktion und manchmal auch etwas leichter. Dieser Typ hat einen zweigeteilten Exzenter, der das Ende des Spießes überspannt. Schnellspanner mit offenem Exzenter haben eine gebogene Unterlegscheibe zwischen dem Exzenter und der gezahnten Metallunterlegscheibe, die gegen das Ausfallenden drückt.
Dieser Schnellspannertyp wurde ursprünglich als "Aufrüstung" vermarktet, weil er etwas leichter war.
Trotz des Marketinghypes, der um diese Vitrinen-Schnellspanner gemacht wurde, sind sie in ihrer Funktionen den klassischen Schnellspannern unterlegen. Man findet sie oft bei prestigeträchtigen Marken wie auch derjenige auf dem Bild rechts. (Das Markenlogo wurde entfernt, um nicht eine einzelne Marke hervorzuheben.)
Der offene Exzenter kann nicht so sauber und gut geschmiert gehalten werden wie der geschlossene.
Zusätzlich hat der offene Exzenter einen größeren Durchmesser - typischerweise 16 mm gegenüber 7 mm für den geschlossenen Exzenter. Daher wirkt die Reibung auf einem längeren Hebelarm (Durchmesser des Exzenters).
Daraus resultiert eine deutlich geringere Klemmkraft für gleiche Handkraft auf dem Hebel beim offenen Exzentertyp.
Glücklicherweise lief der Umschwung zu diesen Vitrinen-Schnellspannern erst nachdem die Industrie die meisten Rahmen mit vertikalen Ausfallenden und Gabeln mit "Lawyer Lips" umgestellt hatte.
Die Schnellspanner mit offenem Exzenter sind im Allgemeinen geeignet für Rahmen mit vertikalen Ausfallenden und Gabeln mit "Lawyer Lips". Jedoch sollte man sich bei horizontalen Ausfallenden oder klassischen Gabeln nicht auf sie verlassen.
Design der Hutmutter
Hochwertige Schnellspanner haben eine Hutmutter mit Kerbungen aus Stahl, die sich in die Oberfläche des Ausfallendes hinein beißen können, so dass das Laufrad nicht rutschen kann. Die meisten Vitrinen-Schnellspanner haben weiche Aluminiumteile an dieser Stelle, vermutlich um Gewicht zu sparen.
Die Aluminium-Zähne sind zu weich, um eine gute Haftung auf das Ausfallende zu haben. Da die Kette auf der rechten Seite des Fahrrads, an der für gewöhnlich die Hutmutter sitzt, zieht, ist dieser Schnellspannertyp bei horizontalen Ausfallenden unzufriedenstellend. Zusätzlich haben die Vitrinen-Schnellspanner Gewinde aus Aluminium (Schluck!) im Gegensatz zu den Gewinden aus Stahl bei den zweiteiligen Hutmuttern. Aluminiumgewinde reißen viel leichter als Stahlgewinde.
mit Aluminium-Gewinde und -Zähnen mit Stahleinlage
Aufgrund dieser Designfehler, sollten diese Boutique-Schnellspanner nicht bei Rahmen mit horizontalen Ausfallenden oder Gabeln ohne "Lawyer Lips" benutzt werden.
Vitrinennaben
Im Bild unten erkennt man zwei Probleme. Das eine Problem ist offensichtlich und im Artikel über Laufradbau erläutert. Das andere Problem sind die glatten Flächen an den Achsenenden, die nicht in das Ausfallende beißen. Das ist wesentlich weniger sicher als gekerbte Achsen oder Muttern.
Schnellspanner-Roulette
Es gibt einige Berichte über ein besonders garstiges Schadensbild bei Schnellspannern mit offenen Exzentern, das auf der gebogenen Unterlegscheibe basiert. Falls man als Anwender nicht acht gibt, kann sich die Unterlegscheibe um 90° drehen und der Exzenter drückt gegen die Erhebungen. Das sieht man auf dem Bild unten. Korrekterweise sitzt der Exzenter im Tal der Biegung. Falsch montiert kann der Schnellspannerspieß rotieren, wenn der Schnellspanner ins Tal zurückfällt. Wenn das passiert, wird der Schnellspanner so locker, dass im schlimmsten Fall das Laufrad herausfällt, sogar wenn die Gabel "Lawyer Lips" besitzt.
Probleme bei Scheibenbremsen
James Annan hatte einen Sturm der Entrüstung in der Industrie ausgelöst, als er auf ein ernsthaftes Sicherheitsrisiko bei klassischen Gabeln mit Scheibenbremsen erläutert hatte. Er identifizierte einen Mechanismus, der dazu führt, dass die auftretenden Kräfte beim Bremsen mit der Scheibenbremse den Schnellspanner öffnen können und der dann das Laufrad aus den Ausfallenden fallen lasst.
Dieses Schadensbild ist auch bei den guten Schnellspannerdesigns feststellbar. Es tritt jedoch wahrscheinlicher bei Schnellspannern mit offenen Exzentern auf. Mehr Details weiter unten.
Siehe auch
- Ausfallenden richten
- Konenzentrierung
- James Annans Artikel, der inzwischen nicht mehr online ist (englisch)
- Details zu Scheibenbremsen
Quelle
Dieser Artikel basiert auf dem Artikel Bicycle Quick-Releases von der Website Sheldon Browns. Originalautor des Artikels ist Sheldon Brown mit Ergänzungen von John Allen.
- Sattelstützenmaße
- Knarzen, Knacken und Quietschen
- Ritzelabstände (Tabelle)
- Auswechselbarkeit von Vierkant-Kurbelaufnahmesystemen bei Innenlagern
- Kettenlinienstandards (Tabelle)
- Ein bequemer Sattel
- Nabenbreiten (Tabelle)
- Alles über Nabenschaltungen
- Shimano Nexus und Alfine Acht-Gang-Naben
- Reifengrößen
- Wiederbelebung eine Raleigh-Twenty
- Grunderneuerung von Schraubkranzfreiläufen
- Kunstgriffe beim Messen
- Reparatur von Ledersätteln
- Die SRAM DualDrive Schalter und Clickbox
- Felge und Nabe messen, um Speichenlängen zu berechnen
- Sachs und SRAM Nabenschaltungen
- Betriebsanleitungen von Fahrradcomputern und GPS Geräten
- Gewindelehre





